一种能产生风帘的抽油烟机
本实用新型涉及厨房用电器,特别是涉及一种能产生风帘的抽油烟机。
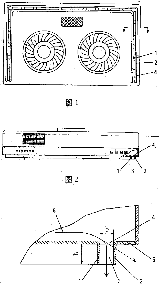
现有的抽油烟机(又称脱油烟机、排油烟机、除油烟机、吸油烟机)中有一种能产生风帘 的抽油烟机,它的下盖板上有能产生风帘的出气口,上盖板上装有风帘电机和风叶,其设计目的
在于让风帘把油烟挡住以免油烟逃逸,使抽油烟机即使做得薄一点或是装得高一点也能正常抽 油烟。但其不足之处是风帘气流出口处向下的风道太短,仅为抽油烟机的下盖板厚(一般为1~2mm厚)。由于向下的风道太短,没有导向作用,其产生的风帘并不是垂直向下而是向外散开;
另外风帘气流也不集中,有效作用距离短,没有真正发挥到风帘所应起的作用。而其它抽油烟 机的缺点是机身厚、用料多、安装距离近,所抽走的气体中其它非油烟成分多,工作效率不高
。
本实用新型的目的是提供一种能产生真正向下的风帘且风帘气流集中、有效作用距离远 的抽油烟机。
本实用新型的目的通过下述设计方案来实现:在抽油烟机的风帘气流出口处设置导向风道。导向风道的高度一般大于气流出口的宽度,高度最好是宽度的1.5~3.5倍。这样风帘电扇
产生的气流流经导向风道时将顺着风道指向流出,形成向下的远距离风帘包围油烟,防止油烟 逃逸及外界空气进入抽气低压区,发挥其应有的作用。
本实用新型跟现有的能产生风帘的同类抽油烟机相比,由于风帘气流集中向下,因此封 闭油烟效果好、距离远、抽油烟效率高。在相同条件下它可以安装得高一些,或者在相同的高
度下所需风帘电机的功率可以小一些。而跟其它抽油烟机相比,它能把油烟封闭住,并能有效 减少进气口旁的干净空气进入抽油烟机,因此抽油烟距离更远,效率也更高,可大大减少抽入
的非油烟量。因其抽油烟距离远,所以可以安装得高一些,这样可使厨房的操作空间显得更大 。
